題材について
題材の選定条件:審査請求がされ、拒絶理由通知が出されたが、これに応答することなく拒絶査定が出された案件
例1:審査経過が「審査請求 ⇒ 拒絶理由通知 ⇒ 拒絶査定」
例2:審査経過が「審査請求 ⇒ 拒絶理由通知 ⇒ 意見書/補正書 ⇒ 拒絶理由通知 ⇒ 拒絶査定」
題材:特願2021-95080
出願人:株式会社不二工機
代理人:特許業務法人第一国際特許事務所
発明の名称:弁装置
審査記録(最終処分:拒絶)
2024年 1月10日 審査請求
2月15日 刊行物等提出書
9月 3日 拒絶理由通知(1回目)
10月 8日 意見書及び手続補正書の提出
2025年 1月14日 拒絶理由通知(2回目:最後)
2025年 6月10日 拒絶査定
検討対象:2回目の拒絶理由通知
拒絶理由:29条2項(進歩性)
簡単な概要
第26回の題材は、機械分野から選出した。また、刊行物等提出書が出されている案件を選んだ(どうしても惹かれてしまう)。
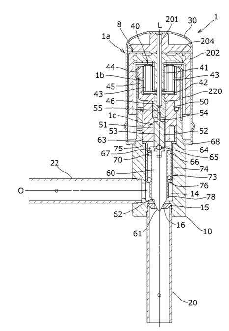
本願は「弁装置」に関する発明を開示する。また、本願の図1は下図の通りである(本願より抜粋)。

出願当初の請求項1は以下の通りである。
【請求項1】
弁本体と、
弁本体にロウ付けされる部品と、を有し、
前記弁本体と前記部品のうち一方に凸部が形成され、他方に、外部に向かって開放する部位を備えた凹部が形成されており、
前記凸部と前記凹部とを係合させることにより、前記弁本体と前記部品との相対移動が制限され、前記部位から前記凸部と前記凹部との隙間を埋めるようにして、ロウ材が配設されている、
ことを特徴とする弁装置。
これに対し、審査請求から僅か一か月余りで”刊行物等提出書”が提出された。ウォッチングされていたのだろう。
出願人は、29条1項2項の拒絶理由通知に対して次の補正を行った。
【請求項1】
プレス成形により形成された弁本体と、
前記弁本体の外壁を貫通してロウ付けされる第1の配管と、を有し、
前記弁本体に外部に向かって開放する部位を備えた第1の雌ねじ孔が形成され、前記第1の配管の外周に第1の雄ねじが形成されており、
前記第1の雄ねじを前記第1の雌ねじ孔に係合させることにより、前記弁本体と前記第1の配管との相対移動が制限され、前記部位から前記第1の雄ねじと前記第1の雌ねじ孔との隙間を埋めるようにして、ロウ材が配設されている、
ことを特徴とする弁装置。
出願人の補正は功を奏したが。新たな引用文献に差し替えられて拒絶理由通知が出された。また、新たにサポート要件違反の拒絶理由が挙げられた。(こういうときに”最後の拒絶理由通知”にするのは、ユーザフレンドリーではない気がする。)なお、サポート要件違反は請求項5に対して挙げられたため、今回の検討では、必要に応じて検討することとする。
出願人は、この拒絶理由に対して応答せず、最終処分の拒絶が確定した。
検討の公開まで
「拒絶理由対応のすすめ」は、実際に検討された上で、記事の詳細を読む方が、スキルアップに効果的かもしれません。まずはご自身で検討してみてから記事を読みたいという方がいることも想定し、具体的な検討の詳細は、記事のアップから期間をあけて、4月21日に公開する予定です。
また、以下の「応答方針の検討」をご覧になる前に、「拒絶理由対応の本質」を読まれることをお薦めします。こちらを読んで頂いた上で以下の記事を読まれる方が、理解が深まると思います。
以下の「応答方針の検討」には、応答方針に至るまでの思考過程と、応答案の概要を載せています。
応答方針の検討(結論:補正なしで応答) 公開予定4/21~5/20
会員の方は、本件はどちらかというとイージーな案件だと感じたのではないだろうか。結論としては、補正無しで対応できるだろうし、個人的な経験からは、高い確率で拒絶理由は解消するものと考えられる(特にチャレンジングな応答ではない)。反論の要点も段階立ててはいるものの、基本的なものの積み重ねといえる。
このコンテンツを閲覧するには会員ログインをしてください。 ログインはこちら. 新規会員登録はこちら


コメント